
Art.Nr.: So2
Stahlcontainer Typ So2, 2.931 x 1.845 x 2.250mm, 10 Fuß mit Absetzvorrichtung nach DIN 30720
( Lager- bzw. Material-Container, keine GL-Abnahme/CSC-Plakette): vollverschweißt, schwere Ausführung, Dach begehbar, Containerecken gem. ISO, Profile in Stahlblech 3 mm, Dach in Stahlblech 1,5 mm, Seitenteile in Stahlblech 1,5 mm, Dach und Seitenteile mehrfach gesickt, Sickentiefe 35 mm, Fußboden aus 18 mm OSB-Platten;
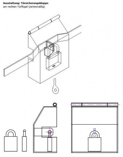
serienmäßig mit Türgummiabdichtung, Türsicherungsklappe bzw. Diebstahlsicherung,
Staplertaschen (jew. B x H in mm: 320, 90, Achsmaß in mm: 940) für Aufnahme der Gabelstaplerzinken, Zwangsentlüftung, innen und außen grundiert, außen lackiert,
Standardfarbe hellgrau RAL 7035, optional alle RAL-classic Farbtöne lieferbar
| mit Absetzvorrichtung nach DIN 30720 | Typ So2 | ||||
| 10 Fuß | |||||
| Außenlänge in mm | 2.931 | ||||
| Außenbreite in mm | 1.845 | ||||
| Außenhöhe in mm | 2.250 | ||||
| Innenlänge in mm | 2.761 | ||||
| Innenbreite in mm | 1.765 | ||||
| Innenhöhe in mm | 2.085 | ||||
| Innenbreite Tür in mm | 1.679 | ||||
| Innenhöhe Tür in mm | 1.960 | ||||
| Gewicht in kg ca. | 820 | ||||
| Nutzlast am Boden in kg ca. | 7.000 | ||||
| Nutzlast am Haken in kg ca. | 6.000 | ||||