
Art.Nr.: S1
Stahlcontainer Typ S1, 4.543 x 2.200 x 2.250mm
( Lager- bzw. Material-Container, keine GL-Abnahme/CSC-Plakette): vollverschweißt, schwere Ausführung, Dach begehbar, Containerecken gem. ISO, Profile in Stahlblech 3 mm, Dach in Stahlblech 1,5 mm, Seitenteile in Stahlblech 1,5 mm, Dach und Seitenteile mehrfach gesickt, Sickentiefe 35 mm, Fußboden aus 18 mm OSB-Platten;
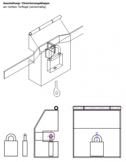
serienmäßig mit Türgummiabdichtung, Türsicherungsklappe bzw. Diebstahlsicherung,
Staplertaschen (jew. B x H in mm: 320, 90, Achsmaß in mm: 940) für Aufnahme der Gabelstaplerzinken, Zwangsentlüftung, innen und außen grundiert, außen lackiert,
Standardfarbe hellgrau RAL 7035, optional alle RAL-classic Farbtöne lieferbar
| Typ S 1 | |||
| 15 Fuß | |||
| Außenlänge in mm | 4.543 | ||
| Außenbreite in mm | 2.200 | ||
| Außenhöhe in mm | 2.250 | ||
| Innenlänge in mm | 4.373 | ||
| Innenbreite in mm | 2.104 | ||
| Innenhöhe in mm | 2.085 | ||
| Innenbreite Tür in mm | 2.050 | ||
| Innenhöhe Tür in mm | 1.960 | ||
| Gewicht in kg ca. | 1.200 | ||
| Nutzlast am Boden in kg ca. | 12.000 | ||
| Nutzlast am Haken in kg ca. | 10.000 | ||